Produkty, které chcete poptat, vložíte tlačítkem Vložit do poptávky na stránce vlevo.
Chcete s námi raději mluvit přímo? Zavolejte:
+420 541 633 670
Pokud toto není to co hledáte:
Produkty, které chcete poptat, vložíte tlačítkem Vložit do poptávky na stránce vlevo.
Chcete s námi raději mluvit přímo? Zavolejte:
+420 541 633 670
Pokud toto není to co hledáte:

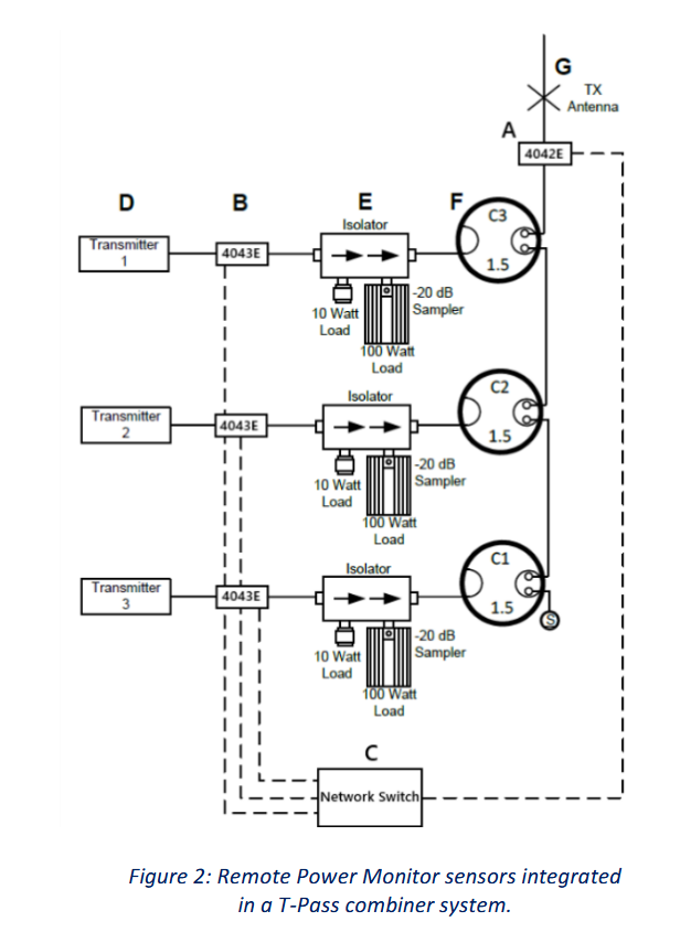
Monitorování RF signálu se senzorem 4042E:
Monitorování RF signálu se senzorem 4043E:
118 MHz až 144 MHz
144 MHz až 244 MHz
380 MHz až 450 MHz
450 MHz až 512 MHz
762 MHz až 806 MHz
806 MHz až 869 MHz
896 MHz až 940 MHz
225 MHz až 400 MHz


Vlastnosti a parametry pro oba modely - 4042E a 4043E:
TR instruments spol. s r.o.
Are you looking for
a sales partner?